以前的冷熱沖擊試驗,是采用人工轉換的方法。但隨著科技的發展,現在的冷熱沖擊試驗箱做試驗,均采用自動轉換溫度的方法,下面我們來看看冷熱沖擊試驗箱做試驗的要求。
.jpg)
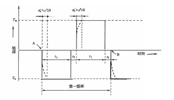
1.將試驗樣品暴露于低溫Ta下。
2.溫度TA應保持規定的時間t1,t1包括箱內空氣的溫度穩定時間,該時間不長于0.1 t1。
注1:暴露持續時間從試驗樣品放入溫度箱的瞬間開始計算。
3.然后將試驗樣品轉換到暴露于高溫Tg下,轉換時間t2立不宜超過3 min.
t2應包括試驗樣品從一個試驗箱取出的時間、放入第二個試驗箱的時間以及在試驗室環境溫度下停留的時間。
注2:對于質量大的試驗樣品,從一個試驗箱到另一個試驗箱的轉換時間可按相關標準或規范的規定增加。
4.溫度Tb應保持規定的時間t1 t包括箱內空氣的溫度穩定時間,該時間不長于0.1t1。
注3:暴露持續時間從試驗樣品放入溫度箱的瞬間開始計算。
對于下一個循環,試驗樣品應轉換到暴露于低溫Ta下,轉換時間t2不宜超過3 min.
第一循環包括2個暴露時間t1和2個轉換時間t2(見下圖)。

5.在最后一個循環結束時,試驗樣品應經受恢復程序。
對于使用冷熱沖擊試驗箱做試驗的程序,如果疑問的,可以咨詢相關技術人員。








